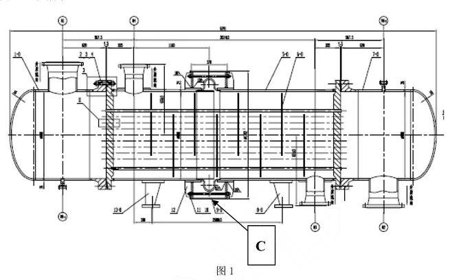
某装置工艺冷凝液预热器使用不到一年即发生底部膨胀节开裂,裂缝长度超过 500MM,裂缝断口腐蚀变色,且有大量的腐蚀产物,开裂位置在膨胀节的波谷,在预热器底部容易积液的部位,如图 1 C点所示。

通过对图纸审查,并进行强度计算,认为该预热器的设计没有严重问题,开裂应是腐蚀所致:
1、导致预热器开裂的原因应是膨胀节制做中没有经过固溶处理,或是固溶处理没有达到效果,不锈钢没有经过固溶处理,抗腐蚀能力根本得不到保证,由于其本身的特点,使用效果还不如低碳钢;
2、由于时间和条件的原因,如本次无法彻底处理,建议对裂缝进行补焊处理,因为焊态组织比未固溶处理的母材组织要好,设备补焊处理后能够坚持一段时间;
3、对于本台设备,在停工检修期间应全面检查,重点是用金相方法检查该设备固溶处理的效果,以及补焊后在使用中有无继续开裂,如果继续开裂,应考虑更换设备,或者更换膨胀节;
4、在停工检修期间,对全厂的不锈钢设备都应进行金相检查,检验其热处理效果,防止类似事故的发生,部分不锈钢设备在运行时由于没有液态水,没有固溶处理的设备一般不会发生腐蚀现象,但是停工过程接触到水后可能发生腐蚀引起事故。
免责声明:本网站所转载的文字、图片与视频资料版权归原创作者所有,如果涉及侵权,请第一时间联系本网删除。
相关文章
官方微信
《中国腐蚀与防护网电子期刊》征订启事
- 投稿联系:编辑部
- 电话:010-62316606-806
- 邮箱:fsfhzy666@163.com
- 中国腐蚀与防护网官方QQ群:140808414
点击排行
PPT新闻
“海洋金属”——钛合金在舰船的
点击数:7130
腐蚀与“海上丝绸之路”
点击数:5741



