空难近几年成为全世界的传染病,很多国家和地区相继发生了飞机失事的悲剧。一般来说飞机坠毁的生还几率是很小的,但是不排除有人生还的可能,这主要看飞机迫降的地点和损坏程度。人们在关注飞机事故的同时,还关注着一种仪器——黑匣子,因为黑匣子能告诉我们飞机为什么失事。
说黑匣子,是因为它内部的神秘、高科技,所以,可以说黑匣子特别的“黑”,超级的“黑”。咱们来看看它是如何之“黑”。
黑匣子:是飞机专用的电子记录设备之一。黑匣子有两个,为驾驶舱话音记录器(Cockpit Voice Recorder)和飞行数据记录器(Flight Data Recorder)。飞机各机械部位和电子仪器仪表都装有传感器与之相连。它能把飞机停止工作或失事坠毁前半小时的语音对话和两小时的飞行高度、速度、航向、爬升率、下降率、加速情况、耗油量、起落架放收、格林尼治时间,还有飞机系统工作状况和发动机工作参数等飞行参数都记录下来,需要时把所记录的内容解码,供飞行实验、事故分析之用。
飞机黑匣子真的是黑色的吗?
飞机黑匣子,其实是飞机上用于记录飞行情况的两种记录仪器。一方面,用于飞行员的培训,另一方面最主要的还是用于万一飞行事故后的原因调查。
一种叫飞行参数记录器(Flight Data Recorder,简称FDR),用于记录比如高度、速度、航向、爬升率、下降率、加速情况、耗油量、起落架放收、格林威治时间,还有发动机工况等飞行参数。

另一种叫座舱音频记录器(Cockpit Voice Recorder,简称CVR),可以记录飞行员与地面指挥机构的通话,正、副驾驶员之间的对话,机长、空中小姐对乘客的讲话,以及威胁、爆炸、发动机声音异常和机舱内其他各种声音。

可以看到,其实飞机黑匣子并不是黑色的,相反都是非常显眼的橘黄色,便于飞行事故发生后能够快速被寻找到。空难事故发生后,飞机往往解体,甚至被烈火烧毁,原本橘黄色的外观经常因此变成黑色。

再加上人们对空难的忌讳,故俗称为“黑匣子”。

为了提高安全系数,黑匣子通常安装在飞机尾部最安全的部位,也就是失事时最不容易损坏的部位。
飞机黑匣子安装位置
驾驶舱话音记录器一般在机首驾驶舱部位安装,用于记录驾驶舱通话和语音记录。
飞行数据记录器一般安装在飞机尾部部位,用于拍摄记录飞机的机械状态。因为科学家通过对多起飞行事故分析,发现飞行器的机尾部分不容易损坏,所以黑匣子安装在机尾。

生活中,黑匣子不仅应用在飞机上,它还是火车、汽车、船只的记录器,只不过对于绝对死亡率最高的航空事故来说,黑匣子应该是最惨烈空难的唯一幸存者,这也是设计黑匣子的初衷,所以它的革新也不能止步不前。
飞机坠毁事故后,黑匣子为何不会损坏?黑匣子是什么材料的?
虽然各飞机制造商和航空公司采取了种种安全措施,但每年在全球仍有大大小小的空难事故不断在发生,据权威机构数据统计,在过去的2015年,全球发生了122起空难事故,累计898人因此丧生。每次空难发生后,人们到现场救援时总会去想尽一切办法寻找黑匣子,为何黑匣子不会损坏?

空难事故发生时,黑匣子会承受巨大冲击(高达几千个G)、静态挤压、穿刺、高温炙烤甚至火烧,如果飞机失事掉入大海,黑匣子还将面临深海压力、海水浸蚀、极限低温等种种极度恶劣的情况,为何黑匣子仍然能够安然无恙?下面来结合某型号黑匣子,从结构设计角度,继续为你揭秘。

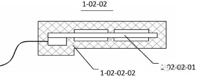
如上图,是某国产型号黑匣子的结构设计图,1-01为外刚性壳体单元,1-02为内套刚性小盒组件,1-03为热保护材料单元。1-02-01为内套刚性壳体单元,1-02-02为热防护材料或非金属缓冲材料,1-02-03就是神秘的用于数据存储的存储介质单元了,种种防护措施,都是为了保护存储单元不被损坏。

事故发生时,通过外刚性壳体(1-01)的可控变形或断裂破坏吸收冲击过程中产出的能量,削弱冲击对黑匣子存储单元的损坏概率。

外刚性壳体(1-01)和内刚性壳体(1-02)通常采用具有高强度、高韧性力学性能特点的钢材料或钛合金材料,并采用一体加工成型为U形(如上图)、圆柱形、球形或带大圆角过渡的方形结构。
在内外双层刚性防护壳体之间填充了热防护材料(1-03),在内套刚性壳体(1-02-01)与存储介质(1-02-02)之间填充了热防护材料或非金属缓冲材料,延缓并削弱事故冲击力。

如上图所示,存储介质(1-02-02)由存储模块(1-02-02-01)和缓冲硅橡胶(1-02-02-02)组成,存储模块灌封在缓冲硅橡胶内,进一步延缓并削弱冲击力对存储模块的损坏。
诸位看官,怎么样,这个厉害了吧,简直层层包裹,层层缓冲!
除了材料和设计上的可靠性考虑,根据 FAA 于2007颁布的民航技术标准TSO-C124b/123b的要求,在装配到飞机上之前,黑匣子必须通过一系列严苛的防坠毁幸存试验,比如:静态挤压试验、穿透试验、强冲击试验、腐蚀物质浸泡试验、海水浸泡试验、深海压力试验、低温炉火和高温炉火等等。
备注:FAA,即Federal Aviation Administration,美国联邦航空管理局。

但即便做了种种防坠毁幸存措施,在某些空难事故时,仍然有可能发生黑匣子损坏的情况,如下图,这种情况下,飞行数据极有可能就找不回来了。

下面是亚航(AirAsia)QZ8501航班从6000英尺坠落大海空难的黑匣子,从爪哇海打捞上来的,虽然飞行数据成功导出,但不幸的是机上162人全部遇难。

关于飞机黑匣子的耐撞、耐热?看完这个视频你就懂了
飞行参数存放在黑匣子什么地方
在上面给大家提及到的,飞行参数和音频数据都是存储在经过重重保护的存储介质中,这个神秘的存储介质究竟是什么样的?继续揭秘,看好了哈~,就是下面这样的了。

左边是某型号黑匣子事故前的照片,右边是经历空难事故后的,真烧黑了!
一颗Virtex-4系列的FPGA,具体型号就不剧透了!
继续爆料,再看看这个~

怎么样,熟悉不?亲切不?SAMSUNG(三星)的4颗K9K4G08U0M,NAND FLASH。National Semiconductor的DS34LV86和DS34LV87,一对RS-422收发器。还有QuickLogic的一颗FPGA芯片,具体型号还是不能剧透。再拆一个,上图~

壳体中像泥巴一样的就是缓冲隔热材料。板子喷了三防漆,还使用了FFC软排线,中间那六颗就是NAND FLASH了,用来存飞行数据的。旁边还有个圆柱体,这个叫水下定位信标(ULB,UnderwaterLocatorBeacon)。
ULB其实是一个通常由电池供电的水下超声波脉冲发生器,牢固地安装在黑匣子外部。一旦黑匣子入水,信标上的水敏开关启动信标工作,通过信标的金属外壳把频率为37.5kHz的超声波信号发射到周围水域,每秒一个脉冲。
ULB内置电池可连续工作至少30天,30天后随着电量逐渐耗尽,超声波信号将越来越微弱直至停止工作,黑匣子将永远处于静默状态,彻底消失了。

有关黑匣子的其他问题
问:为什么飞机不直接把黑匣子上传到云端?不就不用找黑匣子了吗?
答:技术上应该没有什么大问题,关键还是海量数据云存储的费用问题,不如我给个电话,你去问问国航或南航先??
问:飞机黑匣子里为什么不装个GPS或北斗?定位更快啊?
答:牛!这都被你想到了!确实已经在研究中了,基于GPS和北斗对飞机黑匣子组合定位,已经在研究中了,比如中北大学等。长征系列和神舟系列火箭的黑匣子缔造者,低调的奢华!!

问:当年林彪飞机的黑匣子哪去了??
答:俺也不知道!就是知道了也不能告诉你啊,你说对不?
免责声明:本网站所转载的文字、图片与视频资料版权归原创作者所有,如果涉及侵权,请第一时间联系本网删除。
官方微信
《中国腐蚀与防护网电子期刊》征订启事
- 投稿联系:编辑部
- 电话:010-62316606-806
- 邮箱:fsfhzy666@163.com
- 中国腐蚀与防护网官方QQ群:140808414



