钛,元素周期表中第22号元素,地壳含量排名第九,金属元素中位列第四。另一方面,含钛矿物中,只有5%的量真正用于冶炼钛金属,其余95%之多往往用来制备TiO2。钛被誉为航天工业的理想金属,那么,是什么使它如此特殊呢?
1790年,一位牧师在英国康沃尔郡发现了钛,(当然那时还没有titanium这个名号,直到五年后由德国化学家正式命名为titanium)一百年以后,也就是1910年,美国化学家Matthew.A.Hunter成功从一种钛矿石中提取出金属钛。相比其他金属钛的特点非常明显:
轻质——钛的密度很低,只有钢的56%。

钛是已知比强度最大金属。

注:ksi=千磅/平方英寸,表示单位面积上所能承受的压力。
柔韧性:钛的弹性模量较低(14.9*106psi),钢的1/2。钛作为弹簧时不仅有卓越的恢复形变能力也有很强的韧性。

钛对腐蚀和侵蚀有着异常的抗性。在已有的研究中发现,钛自然形成的氧化膜保护了它不受碱性介质中氯和其他卤化物,气体,无机盐溶液,有机酸,氧化性无机酸和水的侵蚀。钛还可以防止微生物的腐蚀。在受到气流的侵蚀尤其是高速气流的侵蚀时这种保护显得尤为重要。
高导热:钛能有效地传导热量,具有高导热性。
膨胀系数低。在复合体系或者陶瓷、玻璃中,比其他金属更有优势。
当然钛也有一些劣势:活性较高,难以(代价高)浇铸或焊接。一旦焊接后,由于加热连接处会弱化,容易造成应力集中点,裂纹传播几率大大增加。工艺成本高,生产困难。

几种常见金属的常见性能对比
钛从何而来?
钛在自然界中有两种最常见的存在形式在:钛铁矿(FeTio2)和金红石(Tio),其主要来源是矿砂。所以最终以何种形式使用的钛都是提炼出来的,也就是说自然界中不存在钛单质。
钛铁矿主要分布在澳大利亚,加拿大,芬兰,南非和美国。主要用于生产钛炉渣。金红石也是在澳大利亚,南非,印度,斯里兰卡和塞拉利昂广泛分布。钛铁矿占据了全球90%的钛矿供应。但是为了使含钛量更高,钛铁矿总是先被加工成金红石和钛炉渣,然后再和天然金红石一起用于生产。
钛金属的提炼
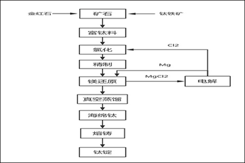
生产金属钛的第一步通常是生产海绵钛,因为这种钛的质地和天然海绵很像。这一过程通常由氯化金红石来实现。先由金红石矿石,焦炭和氯制备出四氯化钛,然后四氯化钛在惰性气体中和镁反应生成氯化镁和海绵钛。(历史上“亨特过程”被用来生产海绵钛,但现在几乎所有的商业生产都使用“柯罗尔”过程)添加或者没有添加合金元素(包括铝,钼,钒,锡,鋯)的海绵钛都能熔融,并以不同的方式多次重熔。

钛的用途
以美国为例,钛的最大消费市场是航空航天工业、商业和防务。据美国地质调查局(USGS)估计:2009年,76%的钛金属用于航空工业, 24%则被用于“装甲、化工、船舶、医疗、发电和体育用品。”事实上从1965开始,钛才开始逐渐应用到航空以外领域。此后的50多年,商业航空以及国防领域对钛的需求都急剧增加。当然除以上用途,钛另有多种民用价值,在此不过多提及,可参看维基百科。

钛在波音飞机上所占的比重让钛对制造业的重要性不言而喻。
市场驱动与前景
可以说,航空业是钛的一个典型消费者。2009年,由于全球经济放缓,飞机制造业几近停滞,由此曾造成海绵钛矿产量显著下降,价格也大跌,并推迟了产能扩张。当时中国是世界上最大的海绵钛开采国,首当其冲,惨遭波及。不少业内人士认为形式严峻。

在海绵钛的生产中,几年来中国一直处于领先地位。
但若因此将其看作钛金属价格的唯一推动力,则有失偏颇。工业需求(主要为商用客机工业需求)是一个推动因素,但除此外,在供应和需求端还有众多重要的“推动力”。
近几年的相关报告频频指出,行业需求保守估计占到全球总产量的49%左右,商用航空30%,其余军事10%(其中7%是军事航空)、消费者8%。
一直以来在供给方面,产能(产能扩张)仍是主要驱动因素。
在航空工业方面,对钛的需求至少依赖于三个要素:商用飞机订单水平;钛不再仅仅作为辅助材料而是大面积、多部件使用;在军用飞机中的用量的持续增长。
因此不难得出,未来钛金属会明显受这三个因素的影响:飞飞机需求(包括客机、军用)、供应情况、钢铁乃至其他工业中的持续消耗——在中国尤其表现明显。
钛的生产成本
最后我们来看看钛的生产成本问题。
任何人看到海绵钛的数据都会惊讶(09年产量第一的中国只有5吨),如此重要的金属产量却如此小。曾有一篇文章指出:“钛的市场非常小,只有钢市场的万分之一的规模。”为什么?
答案就是成本。钛的生产代价(提炼、加工、制备)非常昂贵——以平方英寸为单位,提炼过程比铝的提炼贵五倍,加工成锭以及后期成品的成本是铝的十倍。后期制造是最昂贵的加工阶段,其次就是海绵钛的生产。
除了简单的资本要求,另一个重要的因素是能源消耗。钛生产需要大量的能量,不仅在处理初始矿石到海绵钛阶段,海绵锭成型也需要大量能量。对于某些航空航天应用中,海绵钛可能要被提纯三次以上才能达到要求。
寻找比(柯罗尔过程)更经济廉价的的方法是全世界都在攻克的难题。在全球范围内至少有29所研究机构在研究新的海绵钛生产办法。
免责声明:本网站所转载的文字、图片与视频资料版权归原创作者所有,如果涉及侵权,请第一时间联系本网删除。
官方微信
《腐蚀与防护网电子期刊》征订启事
- 投稿联系:编辑部
- 电话:010-62316606-806
- 邮箱:fsfhzy666@163.com
- 腐蚀与防护网官方QQ群:140808414



