4月上旬,教育部直属75所高校公布了2021年部门预算,收入超过100亿的高校达到了13所。我们来看看高校的钱都怎么赚来的!

上面是清华大学2021年部门预算收入部分明细。其他高校的部门预算收入项目大致相同。从部门预算收入超过100亿的13所高校来看,重点是一般公共预算拨款收入、事业收入、其他收入这三项。其它的类目大部分高校没有列,即使个别列了金额也少。
笔者从高校的部门预算的名词解释中找到各个收入的解释。一般公共预算拨款收入指中央财政当年拨付的资金;事业收入指事业单位开展专业业务活动及辅助活动所取得的收入;事业单位经营收入指事业单位在专业业务活动及其辅助活动之外开展非独立核算经营活动取得的收入;其他收入指除上述“财政拨款收入”、“事业收入”、“事业单位经营收入”等以外的收入。
中央财政当年拨付的资金好理解,那事业收入具体指什么?一般由教学收入、科研收入组成。 教学收入包括通过学历和非学历教育向单位或学生个人收取的学费、培养费、住宿费和其他教学。科研收入是承接科技项目、开展科研协作、转作科技成果、进行科技咨询所取得的收入和其他科研收入。这样说来,事业收入大致可以理解为学费和横向纵项项目费用。而其他收入,就是财政拨款、事业收入等以外的各项收入,包括投资收益、捐赠收入、利息收入等。
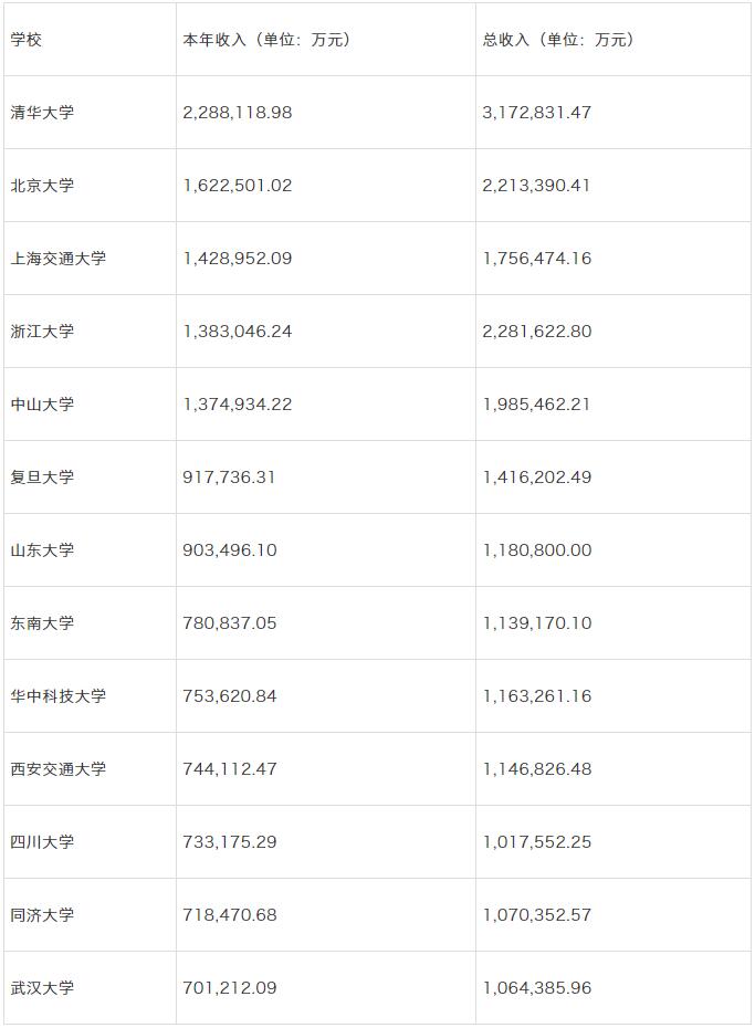
一共13所高校总收入超过100亿。收入中分为两块:本年度收入和上年结转。笔者列出了以下13所高校,但是以本年度收入作为排序:

从本年收入来看,清华单独一档,北大、上交、浙大、中山大学一档。复旦、山大、东南大学等另一档。东南大学等六所高校相差不大。
下面我们细分收入类别,看看各个高校钱从哪来,尤其清华在哪一块多这么多。
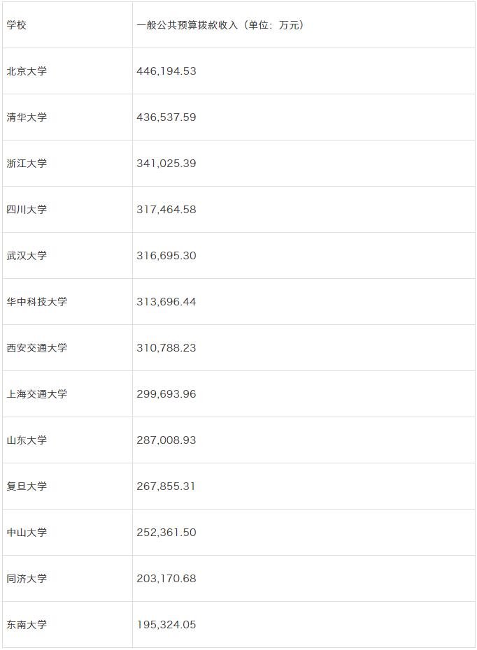
是财政拨款吗?

北大、清华两校进入40亿之列。如果同属一地,这一项的收入就非常接近,例如清华北大、华科武大、上交复旦。
这部分收入,达到100亿规模的高校之间差距不算太大,两百亿的差距不是由这部分贡献。最多的北大比最少的东南大学也仅多25亿,而两校的本年收入相差84亿。清华比北大多66亿,财政拨款比北大还少1亿。
而且,一般公共预算拨款收入占比并没有太大,至少大头靠财政拨款对于上述名校来说并不是事实。以清华为例,该项收入占总收入228亿的19%,如果按317亿(加上去年结余88.5亿)计算,更是低到14%。北大占27%,浙大24%。上海交大23%,华中科大高一些,约43%。
真正占比高的是中科院

它似乎就没有列出其他收入。
再来看看事业收入

在这一项中,各校的差距就非常明显了。清华是独一档的存在,比第二名的上海交通大学高出46亿。上海交大、北大、浙大可算一档。最高的清华比最低的武汉大学多出100亿。
在部门预算表中,事业收入中教育收费有单独列出。在这个项目上北大、清华、上交、浙大四校可以算作一档,其他高校与之有较大的差距。最多的上海交大比东南大学多25亿。
教育收入是通过学历和非学历教育向学生个人或者单位收取的学费、住宿费、委托培养费、考试考务费、培训费和其他教育事业收入。高校对于学历教育学费一般不高,教育收入高还得看所开展的社会培训。
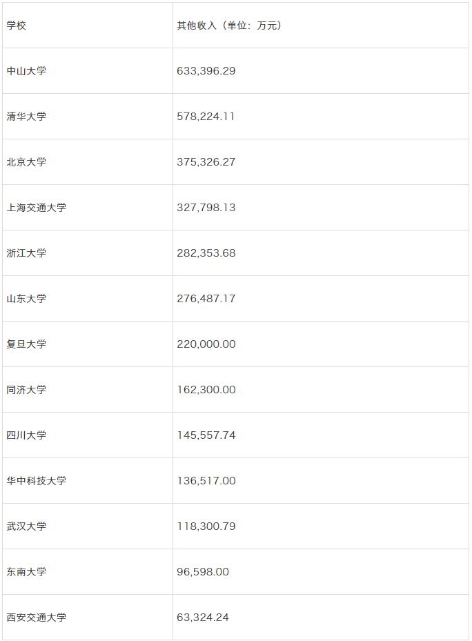
再来看看其他收入:

这一项中,各校的差距也非常明显。最少的西安交通大学约是最多的中山大学10%,两者相差57亿。
所以,财政拨款拉不开差距,教育收费差距不是很明显,科研收入和其他收入才是拉开差距的重点。
我们来看看清华大学怎么就一骑绝尘了。公共预算拨款收入最多的是北大44.6亿,教育收费最多的是上海交大30亿,其他收入最多的是中山大学63.3亿。而且这三项清华北大上交浙大相差不大。唯独在刨去教育收费的科研收入中,清华大学接近100亿,光这一项,本年收入比它多的也仅有北大、上交、浙大、中山大学四所而已。
下面是科研收入以外的总收入和本年度收入表格:

因此在TOP5高校里,财政拨款、其他收入、教育收费相差不大,在科研收入上决出了胜负。
那么问题来了,高校要怎样才能赚到100亿?
如果是本年收入达到100亿,财政拨款、事业收入、其他收入都得靠前,而且至少要有一项很出众。例如中山大学其他收入63.3亿位列第一,上海交大事业收入80亿位列第二。
如果是总收入达到100亿,首先上年结余得30亿。然后要么全部不掉队,要么任一非常突出足以弥补。例如东南大学,财政拨款、教育费用垫底、其他收入倒数第二,但是有接近45亿的科研收入。
写到这里,笔者有一个感慨:
即使同属双一流,或者学科评选A+,赚钱能力上各校之间的差距真的是太大了!
免责声明:本网站所转载的文字、图片与视频资料版权归原创作者所有,如果涉及侵权,请第一时间联系本网删除。
相关文章
官方微信
《中国腐蚀与防护网电子期刊》征订启事
- 投稿联系:编辑部
- 电话:010-62316606-806
- 邮箱:fsfhzy666@163.com
- 中国腐蚀与防护网官方QQ群:140808414
点击排行
PPT新闻
“海洋金属”——钛合金在舰船的
点击数:7130
腐蚀与“海上丝绸之路”
点击数:5741



