近日国家自然基金委公布了2020年集中接收期间项目申请情况,共接收269671项。经基金委初审,不予受理2137项,实际受理267534项。
实际上,截止到今天(06月06日),国家基金委已经立项批复了343项非集中期申请的项目,共计经费1.74亿元(火行数据)。具体包括:
重大研究计划:1项,由浙江大学段树民院士承担,批复资金241.6万元;
新冠疫情专项:110项,总批复资金近亿元,最高批复300万元;
国际(地区)合作交流项目:232项,其中中德科学基金研究交流中心批复资金2298万元。
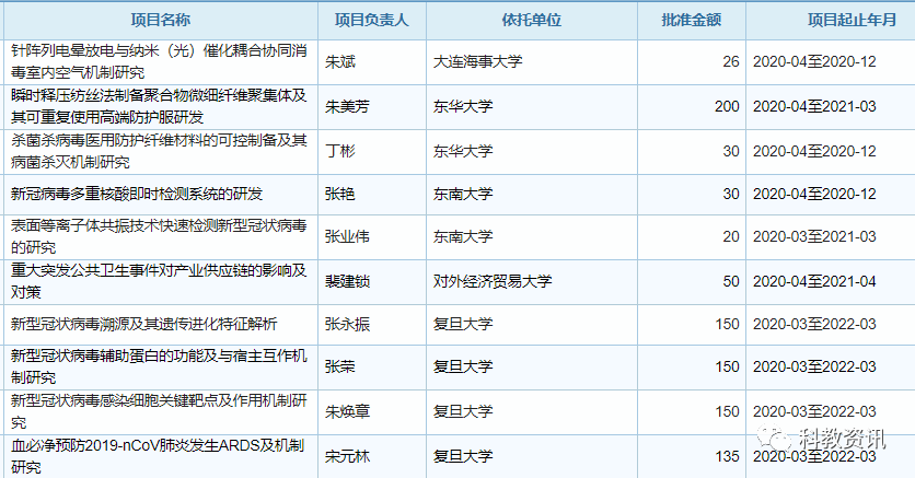
全部项目名单如下:
一、重大研究计划(1项)

二、专项项目(110项)

免责声明:本网站所转载的文字、图片与视频资料版权归原创作者所有,如果涉及侵权,请第一时间联系本网删除。
相关文章
官方微信
《中国腐蚀与防护网电子期刊》征订启事
- 投稿联系:编辑部
- 电话:010-62316606-806
- 邮箱:fsfhzy666@163.com
- 中国腐蚀与防护网官方QQ群:140808414
点击排行
PPT新闻
“海洋金属”——钛合金在舰船的
点击数:7130
腐蚀与“海上丝绸之路”
点击数:5741




