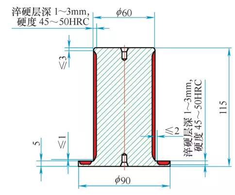
法兰轴如图1所示,材料为40Cr,总长度215mm。轴体部分的直径为60mm、长度210mm,圆柱外表面淬火,淬硬层深度1~3mm,硬度45~50HRC。法兰部分直径为90mm,厚度仅为5mm,内端面表面淬火,淬硬层深度:1~3mm,硬度45~50HRC。感应淬火的方式为立式扫描淬火,从法兰的内端面开始,自下而上扫描淬火。在感应淬火过程中,法兰部分极易被加热,过烧,产生淬透的现象,不能满足技术要求。后经过多次工艺参数的调整,效果均不明显。这就需要另辟蹊径,采取新的方式来解决法兰边被淬透的问题。

图1 法兰轴淬火要求
一、原因分析
法兰轴的圆柱体的实体厚实,材料热容量较高,在感应淬火过程中,采用的是透入式加热(即淬火加热层小于感应电流热透入深度)。透入式淬火加热层的温度分布,从外到里依次为:表面过热层、淬火加热层(全奥氏体层)、加热过渡层。
表面过热层的深度很小,可以忽略不计,数值取0。
淬火加热层会不断地向柱体内纵深推进,直至达到感应电流的透入深度。根据法兰轴圆柱体部分的热处理层深1~3mm的技术要求,法兰轴淬火时的实际淬硬层深控制在2mm左右最合适。
加热过渡层远小于淬火加热层,其一般层深为感应电流透入深度的0.25~0.3倍,即深度为1mm左右。
为达到最佳淬火效率,感应电流的透入深度应为4mm左右比较适合,则:总加热热流扩展深度≈表面过热层深度+过感应电流的透入深度+加热过渡层的深≈0+4+1≈5(mm)同理,当感应器加热到法兰内端面时,总加热层深度为5mm,而法兰的厚度也为5mm。因此,法兰被加热透,淬火时就会被淬透,导致零件报废。
二、解决措施
根据上述原因分析,要解决法兰轴的法兰被淬透的问题,一是改变零件的结构,增加法兰的厚度,不产生淬透的现象,这个方案显然是不可行的,因为零件图不能改动;二是通过热传导的方式将法兰外端面的热量导出,从而保证法兰轴的内端面的淬硬层深度。
措施一:水冷却传热,如图2所示。制作一个冷却水盒,设置有进水口和出水口,进水口通入冷却的淬火液。法兰轴的外端面与冷却淬火液直接接触,其热量被冷却淬火液吸走,并从冷却水盒的出水口流出。水盒内孔与法兰外径的间隙0.1~0.3mm,调整好水盒进水口和出水口的流量,使进水口的流量略大于出水口的流量,水就不会从间隙中飞溅出来,如果稍微涌出一点水,不影响淬火效果。

图2 法兰轴水冷装置
1.支撑座 2.淬火进水口 3.喷水圈 4.法兰轴
5.上顶尖 6.感应器 7.水盒 8.淬火出水口
9.下顶尖 10.主轴
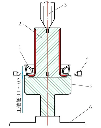
措施二:钢材工装传热,如图3所示。专用工装用于放置法兰轴,法兰轴的法兰外端面(底面)直接与工装接触,法兰的热量被传导到工装上;法兰的底面和外径与工装直接接触,从而将法兰的热量吸走。工装外圈的高度比法兰的高度低0.1~0.3mm,使感应器产生的磁场感应到工装外圆的上端面,分散了法兰外圆处的磁通量,从而使法兰轴内端面的淬硬层深度和形状达到技术要求。而工装上的热量会被淬火液带走,不会产生热能量的累加,不影响批量生产。

图3 法兰轴淬火工装
1.感应器 2.法兰轴 3.上顶尖
4.淬火喷水器 5.工装 6.主轴
在采取借助外冷却导热的方式时,要从三个方面考虑:一是必须满足零件的热处理技术要求;二是要提高感应淬火加工的效率;三是要降低装置的制作成本和使用成本。
三、两种解决方案比较
在感应淬火生产中,我们对两种解决方案进行了比较。
(1)采用水冷却的方式,通过与淬火液的接触将法兰轴法兰的热量导出,起到了增加其热容量的效果。
优点:满足法兰轴的热处理技术要求,导热效果较好。
缺点:冷却装置的结构较复杂、制作成本较高。
(2)采用钢材工装传热的方式,通过工装的热传导和分散感应磁通量,将加载到法兰的热量带走。
优点:满足法兰轴的热处理技术要求,装置的结构较简单、制作成本较低、使用成本低。
缺点:工装外圆上端面被反复加热火后,容易烧坏。
通过两种方式的比较,采用钢件工装传热、分散磁场的方式进行感应淬火,工装结构简单,制作和使用成本也较低,该方案占优。
图4所示样块的热型不太完美,但淬硬层深度检测结果满足法兰轴的热处理技术要求。用于正式生产,淬硬层深度控制在2mm左右。

图4 样块
四、结语
对于几何形状差别比较大的法兰轴,在感应淬火加工过程中,材料厚度比较薄的法兰边极易被淬透。其主要原因是其热容量不够。当进行工艺参数的调整也不能解决问题时,就要想办法借助外冷却导热的方式,将加载到法兰边的热量导出,间接地提高法兰轴法兰体的热容量,从而使法兰内表面的淬硬层深度满足热处理技术要求。
免责声明:本网站所转载的文字、图片与视频资料版权归原创作者所有,如果涉及侵权,请第一时间联系本网删除。
官方微信
《中国腐蚀与防护网电子期刊》征订启事
- 投稿联系:编辑部
- 电话:010-62316606-806
- 邮箱:fsfhzy666@163.com
- 中国腐蚀与防护网官方QQ群:140808414



