1 前言
随着海洋油气田开发年限的增加,海底管道输送介质会发生相应变化。此外,平台增产、新井开发、钻修井、封存等作业,也会给海底管道输送介质带来显著的变化。随之而来,内腐蚀风险管控难度的也相应增加。
通过对介质组分的监控来反应腐蚀风险变化和措施效果,是对海底管道内腐蚀控制最常用且有效的手段之一。
通过介质组分连续监测,可以洞察由工况调整引起的腐蚀数据的变化、可以快速掌握内腐蚀数据波动规律和数据基线、可以与工况数据联动分析腐蚀数据与内腐蚀状况的本征联系关联等,最终快速有效的掌握海管腐蚀发展趋势,从而制定更加具有针对性的措施。

2 介质组分检测的重要性
介质组分检测是“腐蚀风险管控的第一站、也是最重要的一站”。理由如下:
首先,介质组分系统全面的检测,是细致入微的洞察管道内部状态的重要方法。类似于人体标准化体检,通过往复式体检后,对单个指标的定向分析、多个指标的对标分析等手段,反映出海底管道(或人体)目前的整体状态,以及需要关注的指标项、未来对“管道健康”保持的注意事项等。

其次,获取准确性高、规范性强的数据,为后续措施制定提供核心保障。技术再高明的主任医师,诊病也要有准确及时的化验单结果。将测试标准和设备应用深入融合,生成可重复度强的数据,是任何一类检测工作都不断探索的要点。毕竟,失之毫厘,谬以千里。
最后,对症下药后的效果评估,仍需要利用介质组分数据的变化来反馈。如制定如下措施:化学药剂加注、清管作业、工艺调整等来缓解腐蚀,措施实施后的周期内,通过对应指标的加密监测,来验证原因诊断的正确性和效果的即时性。
3 介质组分检测的内容
海管介质组分检测,主要包含以下工作内容:
腐蚀性气体:CO2、H2S、溶解氧;
腐蚀性指标:pH值、铁离子;
腐蚀性离子:Cl-、HCO3-;
结垢性离子:SO42-、Ca2+、Ba2+、Sr2+、Mg2+等;
微生物:SRB、FB、TGB等;
其他检测等。

3.1 腐蚀性气体检测
CO2含量:二氧化碳腐蚀属于去氢极化腐蚀,往往比相同pH值的强酸腐蚀更严重。
H2S:硫化氢溶于水中后电离呈酸性,使管材受到电化学腐蚀,造成管壁减薄或局部点蚀穿孔。
溶解氧:CO2-H2O水体系中随着溶解氧浓度增加,碳钢的腐蚀速率快速升高,甚至可比无溶解氧环境中的碳钢腐蚀速率升高15倍。
其中,CO2、H2S的摩尔含量、分压是内腐蚀最重要的“风向标”,也是防腐措施中药剂筛选及评价、材质选择、工艺控制的核心数据。
3.2 腐蚀性指标检测
pH值:pH值是管道酸度的综合指标,受到CO2、H2S、HCO3-、Cl-、水化学等综合因素的影响。因此pH值的显著波动,都应该重点去捕捉和分析的重点。
铁离子:通过海管上下岸两端的铁离子差值可以计算出海管阶段性的平均腐蚀速率,也是海管内腐蚀风险状态和发展的重要依据。
3.3 腐蚀性离子检测
氯离子:Cl-对金属腐蚀的影响表现在两个方面:一是降低材质表面钝化膜形成的可能或加速钝化膜的破坏,从而促进局部腐蚀;另一方面使得CO2在水溶液中的溶解度降低,从而缓解材质的腐蚀。
碳酸氢根:腐蚀介质中的HCO3-会使溶液pH增大,从而减小FeCO3-的溶解度,降低碳钢的腐蚀速率。
3.4 结垢性离子检测
介质中结垢性离子主要包括:SO42-、Ca2+、Ba2+、Sr2+、Mg2+等。
介质中结垢性离子的浓度关系到海底管道内生产水的结垢倾向,如果海管内CaCO3、CaSO4以及BaSO4等碳酸盐及硫酸盐类化合物的结垢倾向较高,且在海底管道内形成了结垢,会造成严重的垢下腐蚀风险。
3.5 微生物细菌检测
硫酸盐还原菌(SRB):SRB还原生成的硫化氢会腐蚀钢铁,形成硫化亚铁的沉积物,又会引起垢下氧的浓差电池腐蚀,还会形成电偶腐蚀。
腐生菌(TGB):其繁殖时产生的粘液极易因产生氧浓差而引起电化学腐蚀,并会促进硫酸盐还原菌(SRB)等厌氧微生物的生长和繁殖。
铁细菌(FB):在水中能使亚铁化合物氧化,并使之生成三价的氢氧化铁沉淀。沉淀物聚集在细菌周围产生大量的棕色黏泥,导致管道的点蚀和锈瘤的形成。
3.6 其他项目的检测
其他项目检测的目的是为开发新油田(或新油区)、油田生产管理等提供分析数据。主要包含:天然气组分检测和原油检测分析。
4 关于介质组分检测的建议
4.1 人员专业化
遵循安全规定,熟悉现场流程;
具备专业专业认证,熟练掌握各项检测技术;
了解海管内腐蚀相关知识,对数据波动或异常有技术敏感性。

4.2 操作规范化
专业人员进场后,与现场人员对接取样、检测方案;
出具取样和检测工作SOP;
开具作业许可证,保证各作业环节安全;
人员、设备进入指定位置按照SOP进行作业;
设备操作应严格遵守标准规范,重复测试数据稳定后方可记录;
明确记录各作业环节数据、标识样品名称,使用防爆相机对关键作业环节拍照留底。

4.3 设备标准化
密闭性:取样、检测设备确保不受外界环境污染,特别是防爆氧,最大程度反映海底管道内真实环境;
便携性:设备实现小型化、轻量化、便携化,适应海上平台现场环境;
时效性:重要的数据检测在现场完成,取样后短时间内进行,发现异常数据后可第一时间发出预警,开展数据分析;
准确性:取样、检测和样品保存设备、材料均需符合国家标准要求;并按照标准规定的时间进行校正。
4.4 报告格式化
格式化、规范化的数据汇报格式,更利于数据流转和对标。因此,建议检测报告构成如下:
明确作业单位和人员资质;
明确作业方案、流程和使用设备;
明确每组数据的采集时间、位置、工况特征;
明确报告中应展示的数据种类、分析图表;
明确结论和建议的参考依据;
附件包含便于录入数据管理系统的标准数据记录表、现场作业照片、样品保存照片等。
海底管道介质组分检测之CO2、H2S检测
1概 述
海底管道输送油气中含水及所含水蒸气的凝析作用以及盐类等电解质的存在,使管道中不存在绝对“干”的环境,其中气相含有CO2、H2S等腐蚀性气体,与水溶解电离后呈现酸性,从而对海底管道造成腐蚀。因此,现场准确进行CO2、H2S气体浓度的检测,并快速掌握其变化规律规律对于腐蚀与防护措施的制定奠定数据基础。
2检测方法与标准
01 CO2、H2S检测方法
CO2检测方法共有5种分别为:碘量法、亚甲蓝法、乙酸铅反应速率双光路检测法、气相色谱法、检测管着色长度法;H2S检测方法共有5种分别为:滴定法、气相色谱法、红外光谱法、电化学法、检测管着色长度法。
由于对CO2/H2S检测的前四种方法对实验条件的要求较高,难以在现场大规模推广,目前国内、国际上油田对腐蚀性气体进行现场检测时普遍采用检测管着色长度法,该方法结构及操作简单,价格低廉且分析速度快,可直接在现场进行检测。

02 检测管着色法参照标准
ASTM D4810-06(2015)《使用着色长度检测管对天然气中硫化氢的试验方法》
ASTM D4984-06(2015)《使用着色长度检测管对天然气中二氧化碳的试验方法》
3 影响检测精度的因素
在使用检测管着色法检测过程中,往往有很多干扰因素会对检测精度产生影响,而以下几种因素在实际操作中比较常见。
3.1 气体样品采集
取样方法
取样过程中容易使样品参杂空气从而对检测结果造成干扰,建议采用密封式的取气设备。
取样位置
由于受混输海底管道油气水三相流态的影响,取样位置设置在海底管道的底部和顶部所取气样的检测结果会有偏差。
3.2 检测管与附件质量
检测管质量
每种品牌的检测管其质量、检测精度不一,批量选取不同品牌检测管,使用标气进行实验,选用误差范围最小的检测管品牌。
附件质量
附件是指与检测管配套使用的取气泵和软管,其采气量和密闭性等,都会影响检测结果精度。

3.3 检测环境温度
在检测管的包装或说明书上会注明检测环境温度要求,一般为0℃~40℃之间,超出该范围可能会造成检测管内化学药剂反应不充分,对检测精度造成影响。
3.4 显色读数
受到检测管中显色剂的均匀性和填料的紧实度影响,造成了显色柱在管壁局部不均匀现象,这给检测结果的读数带来了困难,当检测管量程较大时,误差能达到10%~20%,所以在实际检测中,针对这一现象,我们采取读取中值的方法来保证检测精度。

04 检测管着色法操作步骤
检测管着色法对天然气中CO2/H2S的检测,主要分为三个步骤,其中第一步取样最为重要,具体操作如下:
4.1 取样
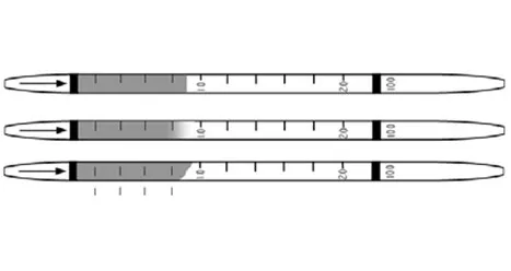
使用具有良好密闭性的取样装置和气袋,连接取样口进行取样操作。需要注意的是,取样装置和气袋在连接前需要进行气体置换,排空内部残留气体,反复三次。取样操作如下图所示:

4.2 检测
选择合适量程的检测管,将检测管首尾两端用切割器割开或掰断,首端与气袋连接,末端与取气泵口连接(保证连接处密闭性),且检测管上的箭头方向指向吸气泵,缓慢拉动取气泵,按照检测管说明书上规定,在一定时间内吸取固定体积的气体(即吸气泵实际冲程数)。常见要求为3分钟内吸取50ML或100ML气体,具体如下图所示:

4.3 读数
达到所需时间后,将检测管从吸气泵上取下,立即从检测管的刻度表读出CO2或H2S浓度值,读取最大着色点对应的刻度值,并记录气体的温度和环境压力。
如果出现“沟槽”(即不均匀的着色长度),选其最大和最小着色长度,然后取这两个值的平均值。
每个检测点平行检测至少3组,取平均值为最后检测结果。
冲程校正
如果实际冲程数与额定冲程数不同,则按如下公式校正读数:
ppm(校正后)=ppm(现场读数)×额定冲程数/实际冲程数

海底管道介质组分检测之铁离子检测
概 述
目前在役海底管道主要以碳钢材质为主,管道的腐蚀过程中铁会失电子转化为Fe2+、Fe3+,因此,通过监控海管出入口介质的铁离子浓度差,可以较直观地反应出该管道的内腐蚀情况、防腐措施的有效性等。
然而,由于海管内部温度、压力、流速、其它介质组分等条件的复杂性,造成腐蚀掉的铁会以各种化学和物理形态组合存在(例如二价、三价或者两者均有,悬浮的、胶体的、不溶解的等),这使得其检测过程复杂化,并造成结果的偏差。
本文根据现场实际经验的总结提炼,尝试对海管介质组分的铁离子检测进行综述,以期能提供一定的帮助和建议。

检测方法与标准
一 铁离子检测方法
测定海底管道介质中铁离子的浓度有很多种方法,然而都大多数方法存在着受其它离子干扰的问题。
目前,国内外石油行业标准中推荐的方法有原子吸收光谱法(AAS)、电感耦合等离子体原子发射光谱法(ICP)、邻菲啰啉分光光度法等。海洋油气田由于受到实验条件、物流时间等限制一般采用邻菲啰啉分光光度法进行铁离子浓度的现场测试。
二 邻菲啰啉分光光度法参照标准
● SY/T5523-2016 《油田水分析方法》
● HJ/T345-2007《水质 铁的测定 邻菲啰啉分光光度法(试行)》
● ASTM D1068-15《Standard Test Methods for Iron In Water》

影响检测精度的因素
在还原条件下,铁离子以亚铁态存在。当不存在形成络合物的物质时,除pH值很低,否则三价铁的溶解度很小。暴露于大气或加入氧化剂后,二价铁易被氧化成三价铁,并且水解成不溶的水合氧化铁。铁离子的存在状态很不稳定,以下几种因素均可对检测精度造成影响。
一 样品采集和存放
采集方法
● 样品采集过程可能暴露于空气,形成不溶物质;
● 取样时未冲出取样点的死水,造成数据偏高。
采集位置
● 取样位置在管道的不同点钟方向,会测得不同的数据;
● 同一条管道在水平段、爬坡立管、下坡立管段取样,会测得不同的数据。
存放时间和环境
● 样品超过最长存放时间未检测;
● 样品未按照标准要求加酸存放、暴晒等。
二 样品油水分离
样品采用离心机或电脱等方法进行油水分离时可能暴露于空气。
三 检测温度
检测温度较低,将不能除去氰化物和硝酸盐的干扰。
四 样品pH值
pH值偏中性只能测到游离态的铁离子,pH值过低又会亚铁离子与邻菲啰啉螯合。
五 检测设备
不合格或未经标定的检测设备、试剂。
六 检测流程
消解、过滤、煮沸等方法未按照标准或顺序颠倒。

铁离子现场检测操作方法和注意事项
一 取样
● 取样前打开取样点,液体高速流动3min;
● 使用不锈钢或特制玻璃树脂等容器取样,连接取样口前对取样容器内通入氮气或其它惰性气体置换出取样容器内部的空气;
● 保证取样容器和海管取样点连接处密封;
● 海底管道入口和出口的取样时间间隔为海管长度除以流速;
● 出入口取样位置最好同为水平段的5~7点钟方向。
二 分离
● 分离尽量和取样在一个容器内完成,避免转移过程中暴露空气;
● 现场可选择的分离方式为静置、离心、电脱等,但静置时间不宜太长避免阳光直射,离心和电脱需尽量绝氧,如无绝氧条件,需要在操作前将样品pH调至2以下。
三 消解(酸化)
用HCl或HNO3将分离水的pH值调至2以下,并将样煮沸(如有条件)。
四 调节pH值
邻菲啰啉分光光度法的合适螯合pH值为3~5,检测前需将酸化消解的样品pH值调至3~5之间。
五 过滤
用0.45μm膜过滤纸进行过滤,过滤后的样品需清澈无悬浮物和沉淀物,过滤过程要尽可能绝氧。
六 检测
按照选用分光光度计的说明书进行检测作业,需注意该方法的检测范围0.03mg/L~5mg/L,超过此范围需用去离子水对样品进行稀释。

海底管道介质组分检测之微生物检测
1 概述
凡是同水、土壤或湿润空气接触的金属,都会受到微生物腐蚀。在陆地,越有50%至80%的地下管线腐蚀属于微生物引起或参与,而在海上油气田,海底管道、工艺关系、压力容器、深水泵、循环冷却系统、飞机燃料箱及其它平台设施都会面临微生物腐蚀的风险。据英国和美国调查数据显示,分别有80%和70%的油气管道失效是微生物腐蚀造成的。
因此,在油田现场准确检测出海底管道内造成内腐蚀的微生物种类和数量对判断内腐蚀状况、评价杀菌措施效性等具有重要作用。

2 检测方法与标准
2.1 SRB/TGB/FB检测方法
目前,国内石油石化行业对细菌菌种判断和菌量的测定方法主要包括培养法、基于SRB特征物质的检测方法、基于电化学阻抗法的快速检测方法、基于微生物燃料电池原理的快速检测方法。受制于此类厌氧细菌的特性及海上油田现场环境,目前普遍采用的方法是培养法中的最大可能数法(MPN)。
2.2 MPN法参照标准
● SY/T 5329-2012 碎屑岩油藏注水水质指标及分析方法
● GB/T 14643.5-2009 工业循环冷却水中硫酸盐还原菌的测定MPN法

3 影响检测精度的因素
目前已发现的SRB有八个属,数十个种类,绝大部分种类是极度厌氧细菌。因此,在现场取样和培养的过程中,一旦样品接触空气,极易造成此类微生物的死亡,导致检测结果偏差。另外,海底管道内的SRB多附着于管壁且隐藏于垢下,游离态的SRB大约只有附着态的1/1000,在分离水中没有培养出SRB,并不能证明海管内没有SRB存在。影响微生物检测精度因素总结如下:
3.1 样品采集和存放
● 采集方法
样品采集过程中可能暴露于空气,造成微生物死亡;
● 存放时间和环境
样品超过最长存放时间未培养,微生物进入衰亡期;
● 样品种类
分离水中可能检测不到SRB。
3.2 样品油水分离
样品采用离心机或电脱等方法进行油水分离时可能暴露于空气。
3.3 培养温度
SRB的最适宜生长温度为37℃,温度过高或过低会导致SRB失去活性。
3.4 培养pH值
SRB的最适宜生长pH值为7.2,培养过程中pH调整不当会影响检测结果。
3.5 检测设备
不合格或未经标定的检测设备、试剂。
3.6 检测流程
操作过程中未对注射器、培养皿酒精消毒,一支注射器反复使用等。

4 现场检测操作方法和注意事项(仅限MPN法)
4.1 取样
● 使用不锈钢或特制玻璃树脂等容器取样,连接取样口前对取样容器内通入氮气或其它惰性气体置换出取样容器内部的空气,并做灭菌处理;
● 取样容器和海管取样点连接处密封;
● 取样不限于液体,海管内的油泥、结垢等处理后也可以进行细菌培养。
4.2 分离
● 分离尽量和取样在一个容器内完成,避免转移过程中暴露空气;
● 使用绝氧静置分离,如采用电脱、离心等分离方式将导致细菌大量死亡。
4.3 培养
● 选取合适的培养瓶;
● 用75%的酒精溶液将培养瓶顶盖及操作者手部进行消毒;
● 用无菌注射器吸取1ml水样注入1号瓶内,摇匀;
● 另取一支无菌注射器从1号瓶内吸取1ml水样注入2号瓶,摇匀;
● 重复上述操作稀释到所需浓度;
● 放入35-37℃恒温培养箱,或模拟海管温度的恒温培养箱中培养7~21d,并在7d、14d、21d时拍照建档。
4.4 计数
测细菌含量范围时,如1号瓶有细菌生长,其余瓶无细菌生长,表明细菌含量范围为1~10个/ml;若2号瓶有细菌生长,则表明细菌含量范围为10~100个/ml;以此类推,若4号瓶有细菌生长,则表明细菌含量范围为1000~10000个/ml。
海底管道介质组分检测之氯离子检测
一 概述
油气田生产水中含有大量的氯离子,其是衡量影响海底管道内部环境腐蚀性的指标之一。氯离子对海底管道腐蚀的影响主要体现在降低材质表面形成钝化膜的稳定性,加速钝化膜的破坏,从而诱发点蚀和应力腐蚀,促进局部腐蚀。
因此,准确检测海底管道内氯离子浓度,对评估海管内腐蚀状况和制定有效防腐措施等具有重要意义。

二 检测方法与标准
2.1 氯离子检测方法
目前,国内对氯离子浓度测定的方法主要有4种,分别是:硝酸银滴定法、离子色谱法、电位滴定法和硝酸汞法。由于受到海上油田现场环境、实验条件、物流时间等限制,一般采用硝酸银滴定法进行现场测试。
硝酸银滴定法原理如下:

2.2 硝酸银滴定法参照标准
GB/T 11896-89 水质 氯化物的测定 硝酸银滴定法

三 影响检测精度的因素
3.1 样品采集和存放
● 采集方法:采集过程中未冲出取样点的死水,造成数据不准确。
● 存放时间和环境:样品超过最长存放时间后,未及时检测。
3.2 样品油水分离
水中的油会影响氯离子测量结果,若分离出来的水样未过滤干净,检测结果也会有偏差。
3.3 水质成分
● 水样pH值若<6.0 或 >8.5,会影响检测结果;
● 若水样中存在溴化物、碘化物、硫酸盐、硫化物、亚硫酸盐、硫代硫酸盐等物质或离子,结果会出现偏差。
3.4 药剂调配
硝酸银滴定法实验中需要准备的药剂,如:氢氧化钠溶液、硫酸溶液、铬酸钾溶液、硝酸银溶液等。注意溶液的浓度精度问题,如调配错误会对检测结果造成影响。
3.5 检测流程
仪器未清洗干净、药剂加入顺序颠倒、滴定颜色变化未按照标准等情况的出现都会对结果造成偏差。
四 氯离子现场检测操作步骤和注意事项
4.1 取样
使用不锈钢或特制玻璃树脂等容器取样,取样前经过3分钟以上的排放,消除积液和死水的影响;保证取样容器内干净无其他水质,且取样过程不接触其他水质。
4.2 分离
● 分离和取样应在同一个容器内进行,避免溶液多次转移造成污染;
● 初步分离后水溶液推荐再次经过滤膜(如0.45微米孔径)进行过滤,确保去除水中油污。
● 为避免干扰,水样中的硫化物通过加硝酸酸化并煮沸的方法去除,铁离子可用氢氧化钠或过氧化钠使铁离子沉淀后过滤去除。
4.3 药剂配制
严格按照标准要求剂量配置出相关药剂,配置好的药剂保存时间不超过6个月,超过6个月后需重新配置。
4.4 测定
吸取50mL水样或经过预处理的水样(或适量水样加水稀释至50mL)。加入2滴酚酞指示剂,用硫酸溶液或氢氧化钠溶液调节至溶液红色恰好褪去。各加1mL铬酸钾溶液,用硝酸银标准溶液滴定,同时用玻璃棒不停搅拌,直至溶液生成橘黄色为止。

4.5 数据处理和记录
试样中氯化物含量按该式计算:

测量氯离子浓度需进行两次以上的测定工作,在重复性条件下,获得的两次独立测定结果的绝对差值不得超过算术平均值的10%,该方法定量限为1.0mg/L。
海底管道介质组分检测之pH值检测
01 概述
油田采出水的pH值是衡量影响其腐蚀性的重要指标。其对腐蚀的影响主要体现在两个方面,一方面,pH值影响了腐蚀的阴阳极反应,进而改变腐蚀反应的速率;另一方面,体系的pH值不仅会影响腐蚀产物的成分,还会影响腐蚀产物膜的结构,从而影响反应速率。此外,pH值还对体系水质的结垢倾向,细菌生长情况等多方面有重要的影响。
因此,现场快速准确的测定油田采出水的pH对于油田现场腐蚀管理具有重要的意义。

02 检测方法与标准
2.1 检测方法
目前现场pH值的检测方法主要有比色法和电极法。其中,比色法就是采用快速pH试纸进行测量,该方法便捷快速,但误差较大。用于pH测量的电极包括玻璃电极、锑电极、甘-汞电极和银-氯化银电极。其中工业常用的为玻璃电极和锑电极。玻璃电极测量准确,但测试温度较低,且易受水中油污影响;锑电极结构简单,可在高温下和少量油污中使用,但测量精度差;甘-汞电极主要作为参比电极使用,银-氯化银电极用的较少。目前现场pH检测仍采用玻璃电极为主。

2.2 参考标准
《GB/T 6920-1986 水质 pH值的测定-玻璃电极法》
03 影响现场检测的因素
3.1 取样方式
现场不同的取样方式会得到不同的检测结果。通常而言,敞开式的取样方式会造成急剧的压力变化以及曝氧,加快水中离子的反应,影响pH的检测结果。密封式的取样方式可以很好的将待测液体与外界隔离,缩短检测之前的曝氧时间,得到较稳定和可靠的结果。
3.2 水中油含量
水中的油会明显影响pH值的测量结果,油中的大分子物质会吸附在电极的球泡上,阻碍内外的离子扩散和达到平衡,使检测结果偏移,长时间无法稳定。此外,油污会污染电极球泡上薄膜,大大缩短使用寿命。
3.3 检测温度
温度对pH值测量结果的影响体分为两个方面,其一是对水电离过程的影响,其二是对电极检测过程的影响。一般来讲pH值的适宜测量温度在50℃以下,在高于50℃以上的溶液中测量会大大影响电极的使用寿命,同时,对玻璃电极进行校准时, 待测溶液与标准缓冲溶液的温度误差在±1℃以内。
3.4 水质成分
油田采出水中含有大量的阴阳离子,其中部分离子会相互反应。比如Ca2+和CO32-反应形成CaCO3,S2-与Fe2+反应形成FeS等,这些结垢性产物会附着在电极表面,堵塞电极通道,除了造成pH值检测结果的偏移和波动外,长时间浸泡在此类溶液中会大大缩短电极的寿命。
3.5 电极状态
电极的准确与否严重影响pH值测试的结果,所以pH电极的正确使用是确保检测结果准确的前提。长时间不用的电极应浸泡在4mol/L的饱和氯化钾溶液中。使用前, 电极需在纯水中浸泡24小时以上, 并使用准确的缓冲溶液进行校正,使用后, 需用蒸馏水反复冲洗数次, 然后浸入氯化钾溶液中存放。
3.6 样品存放时间
一般情况下,油田采出水中溶解大量的CO2气体,在取样的过程会不断从水中逸出,样品存放时间越长,CO2逸出越彻底,会造成溶液的pH值不断升高;此外,油田采出水中的部分阳离子如铁离子等,会在压力的变化下发生水解反应,影响pH的检测结果。因此,pH值的检测应该在现场进行,并在取样后快速完成。

04 现场操作步骤及注意事项
4.1 取样
使用不锈钢或特制玻璃树脂等容器取样,取样前需对取样口经过3分钟以上的排放,消除积液和死水的影响。
4.2 分离
●分离和取样应在同一个容器内进行,避免溶液的多次转移造成污染;
●分离应快速进行,避免样品滞留时间过程而产生的水解反应等;
●初步分离后水溶液推荐再次经过滤膜(如0.45微米孔径)进行过滤,确保水中油污的去除。
4.3 测量
●用标准缓冲溶液对pH计进行测量前的校正,要求采用缓冲液的pH梯度可以覆盖待测溶液的pH值区间;要求标准缓存溶液的温度与待测溶液温度相差不超过1℃;
●确保待测溶液温度降至50℃以下,方可进行测量;
●按照pH计的标准操作规程进行测试操作,要求pH计探头垂直浸入待测溶液中,待测溶液需完全浸没球泡以上1cm;
●待显示数值不再变化后放可读数。
4.4 数据记录和处理
●记录pH值测量结果,以及取样温度、取样压力、测试温度等信息;
●如需推断真实工况下的原位pH值,需在特殊软件协助下进行原位pH的计算。
免责声明:本网站所转载的文字、图片与视频资料版权归原创作者所有,如果涉及侵权,请第一时间联系本网删除。
官方微信
《中国腐蚀与防护网电子期刊》征订启事
- 投稿联系:编辑部
- 电话:010-62316606-806
- 邮箱:fsfhzy666@163.com
- 中国腐蚀与防护网官方QQ群:140808414



