在早期核电站中,管道主要是采用304SS和316SS奥氏体不锈钢制造,在钢管的冷加工区域常发生应力腐蚀开裂 (SCC)。日本一座沸水堆 (BWR) 核电站就曾发生由316L制造的焊接堆芯围筒的穿晶应力腐蚀 (TGSCC) 情况。研究结果表明,冷加工316L不锈钢的晶界析出了Laves相,并且在Laves相周围观察到狭窄的贫Cr区,从而提高了不锈钢的SCC敏感性。
核反应堆结构材料的加工组装过程中的弯曲、焊接、打磨、切割、打孔等工艺都会在材料中引入塑性变形,尤其是焊接热影响区的收缩相当于对材料进行了20%~30%的冷加工,使得这些部位产生类似冷加工变形的微观组织,从而造成材料局部力学性能的改变和应力的集中,最终促进应力腐蚀的萌生。从微观上讲,具有fcc结构的金属主要是依靠晶格局部滑移来实现冷加工所需的塑性变形,滑移会引发位错,位错的移动会产生大量的点缺陷,导致在材料内部产生大量的缺陷,使材料脆化,更容易引起材料SCC裂纹的萌生和扩展。
现阶段我国主要发展的第三代核电站中,所用的结构材料主要是奥氏体304、316不锈钢,镍基600、690合金,焊接金属镍基52/152合金以及碳钢等,这些结构材料在生产和装配过程中不可避免的会发生局部塑性变形,微观上产生大量的位错和空位,使其力学性能变差,再加上在反应堆一回路中严苛的水化学环境、高温高压、辐照等因素的共同作用下,有可能会产生SCC,对核电站安全运行产生威胁。因此研究冷加工材料的应力腐蚀行为对于进一步探究应力腐蚀机理和模型,开发抑制和减缓核电结构材料应力腐蚀的应用技术具有重要意义。
1 冷加工对核电结构材料SCC的影响
1.1 冷加工对SCC裂纹扩展速率的影响
大量的研究表明,冷加工可提高材料SCC敏感性,从而增大SCC裂纹扩展速率,Kuniya等研究了冷加工对304不锈钢在含氧高温水中SCC敏感性的影响,发现冷加工程度越大,材料的SCC敏感性越高。Wang等[9]认为冷加工硬化层的氧化和局部应力集中对SCC的萌生和扩展起着重要的作用。
冷加工造成材料内部的晶粒发生平行于冷轧面的变形,晶粒变成沿冷轧方向的细长形,在晶界处造成连续的平行于冷轧面的片状残余应力区,晶界处出现大量的缺陷使晶界处变脆。这些带有残余应力和大量缺陷的晶界更有利于氧的扩散,造成平行于冷轧面的晶界氧化,从而在晶界处形成金属/氧化物空隙区,加快SCC裂纹扩展速率。冷加工还可以在晶粒中形成变形带,这些变形带也会成为氧和离子的快速扩散通道。当裂纹尖端延伸到变形带时,变形带的氧化会导致裂纹前端区域力学性能变差,易断裂,同时还会形成一个局部高应力区,加速裂纹向前扩展。冷加工过程还会增加利于合金成分扩散的高角度亚晶界的比例,增加合金成分在晶界内扩散速率,在裂纹扩展过程中起到重要作用。
材料在冷加工的过程中由于晶格的滑移产生位错,位错的移动会产生大量的空位缺陷,冷加工程度越大,材料中缺陷的密度就越大。Arioka等在研究中通过对冷加工镍基690TT、镍基600MT合金、奥氏体316SS以及碳钢在高温的压水堆 (PWR) 水环境、空气以及氩气中进行拉伸实验,表明在裂纹的前沿及其周围区域会产生孔洞。这是因为冷加工过程中产生的空位缺陷会在应力梯度的作用下向晶界方向运动,然后沿着晶界向高应力区移动,在局部形成较高的空位密度,最终形成孔洞。一般裂纹前端区域为高应力区,但是由于材料微观结构的不均匀性,在裂纹前端附近其他区域也会形成局部高应力区。在PWR高温水环境中,裂纹前端的孔洞和较高的空位密度会显着降低晶界处的力学性能,使晶界的结合能力减弱,增加材料的SCC裂纹扩展速率;在附近区域的局部高应力区形成的孔洞还会诱发SCC裂纹的萌生,在一些位置形成新的应力腐蚀裂纹。因此,在冷加工材料中,空位的形成及移动速率是控制SCC裂纹扩展速率的重要因素。此外,冷加工产生的空位缺陷还能加速材料内成分的扩散。最新研究表明,在冷加工碳钢中Ni的扩散速率是非冷加工材料中Ni扩散速率的4倍,空位移动为Ni的移动提供活化能,使Ni的扩散速率加快,从而加快裂纹前端金属的溶解,使SCC裂纹扩展速率增大。
Terachi等研究认为,冷加工产生的空位和位错还可显着增加304SS和316SS的屈服强度,并且材料的CGR随着材料屈服强度的增加而增大。在硬度较高的材料中,材料在拉应力的作用下塑性变形区比较小,所以在拉应力的作用下材料的应力区有比较大的应力梯度,导致材料应力腐蚀CGR较大。总结前人的研究可见,材料的屈服强度 (σσy) 和材料应力腐蚀CGR之间的关系基本服从于经验公式:
![]()
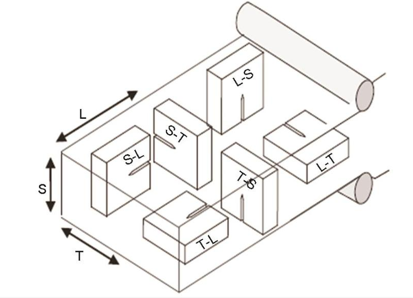
取样方向也会影响材料的裂纹扩展速率。图1为一维轧制材料不同取样方向的示意图。Arioka等研究认为,T-L方向样品的SCC裂纹扩展速率大于T-S方向样品的。Moshier和Brown认为S-T方向样品SCC裂纹扩展速率大约为L-T方向样品的10倍。虽然没有文献全面研究取样方向对SCC裂纹扩展的影响,但是从现有的文献总结可见,S-L,S-T和T-L方向的样品SCC裂纹扩展速率总要大于T-S和L-S方向的样品,说明裂纹扩展方向与冷轧面相平行的样品裂纹扩展速率要大于裂纹扩展方向与冷轧面相垂直样品的,裂纹扩展平面与冷轧面相平行的样品裂纹扩展速率要大于裂纹扩展平面与冷轧面相垂直样品的。这可能和冷轧加工产生的与冷轧面平行的片状高应力区的优先氧化以及应力梯度引起的空位扩散有关。同样是在裂纹扩展方向与冷轧面平行并且裂纹扩展平面与冷轧面相垂直的两个样品中,Chen等观察到T-L方向样品的SCC裂纹扩展速率要大于L-T方向的,这可能和冷轧加工过程中产生的与冷轧面相平行沿着冷轧方向分布的细长晶粒有关。冷加工变形的方向同样会对应力腐蚀CGR产生影响。Hou等分别对镍基600合金进行3个方向的冷加工,分别标记为1DCW (冷轧方向1-L),2DCW (冷轧方向1-L、2-T) 和3DCW (冷轧方向1-L、2-T、3-S),然后对材料进行U型弯曲SCC实验,结果显示对沿晶应力腐蚀 (IGSCC) 敏感度影响程度依次为1DCW>3DCW>2DCW。相较于其他两个样品,1DCW样品残余应力最大,晶界处的局部高应力区最大,裂纹扩展速率也最大。

图1 轧制冷加工示意图
1.2 冷加工对SCC裂纹扩展方向的影响
冷加工后产生的变形带的局部氧化也会影响裂纹的扩展方向,进而可能改变裂纹类型。Garcı́a 等研究指出,冷加工态的304不锈钢在沸腾MgCl2溶液中发生混合型SCC开裂,且随冷加工程度的增大,TGSCC逐渐变成主要的开裂模式。Lu等认为304LSS在高温高压含氧水环境中也发生类似现象。裂纹扩展方式和晶界与滑移带和载荷方向的夹角相关,见图2。其中,A为冷加工滑移带,B为晶界,角度α为冷加工滑移带与载荷方向的夹角,角度β为晶界与载荷方向的夹角。当α>β时,则裂纹沿冷加工滑移带进行扩展,即为TGSCC;当α<β时,裂纹沿晶界方向延伸,裂纹扩展方式为IGSCC。

图2 冷加工304L不锈钢裂纹扩展方向示意图
Yaguchi等将以往冷加工材料的应力腐蚀研究中观察到的IGSCC裂纹分为两类,一类沿着预制裂纹方向扩展,称为Type-Ⅰ型裂纹;一类沿着垂直于预制裂纹而平行于冷轧面方向扩展,称为Type-Ⅱ型裂纹。在样品中出现的裂纹种类和冷加工程度、应力场强度因子以及水化学有关,Type-Ⅱ型裂纹一般出现在冷加工程度比较高的材料中。这与冷轧通过在晶界附近产生平行于冷轧面的片状高应力区从而使该区域优先局部氧化有关,当应力腐蚀裂纹沿垂直于冷轧面的方向延伸时,局部氧化区力学性能差,从而可能产生Type-Ⅱ型应力腐蚀裂纹。在Type-Ⅱ型裂纹中,不但裂纹尖端发生氧化,而且在裂纹前端区域也发生了氧化。
1.3 温度和溶氢量对冷加工材料的SCC裂纹扩展行为的影响
SCC裂纹扩展时,高温可以加速裂纹中氧和金属离子的扩散,所以随着温度的提高,一般地SCC裂纹扩展速率增大。但是,在冷加工材料中,高温可以改善材料的力学性能,反而降低SCC裂纹扩展速率。图3和4[20,22,36,37]分别为文献中冷加工316SS和冷加工690TT合金SCC裂纹扩展速率随温度的变化。从图中可以看到,在PWR环境中 (500 mg/L B-2 mg/L Li-30 mL H2/kg H2O),冷加工奥氏体316SS以及镍基690TT合金材料在280~360 ℃之间随着温度的升高,SCC裂纹扩展速率先增大后减小;在320~340 ℃之间存在某一温度,在此温度下SCC裂纹扩展速率达到最大。如图3所示,5.6 mL/kg的溶解氧环境并不能改变此趋势。但是图4显示,增加溶氢量 (DH) 到45 mL/kg,20%CW690镍基合金在320~360 ℃范围随着温度的增大,SCC裂纹扩展速率逐渐增大,并没有出现减小的趋势。这说明690合金的裂纹扩展速率不但受温度的影响,还受溶液中溶解氢含量的影响。

图3 冷加工316SS SCC裂纹扩展速率随温度的变化

图4 冷加工690TT合金SCC裂纹扩展速率随温度的变化
研究认为,材料的冷加工使塑性区有比较大的位错密度,由于在温度较低时材料塑性差,所以导致在裂纹尖端有比较高的应力梯度,大量的缺陷向裂纹尖端移动,进一步增大了裂纹尖端的局部缺陷密度。位错向裂纹尖端的移动过程中,会引起在裂纹前方的金属基体中形成大量的空位,导致裂纹前方的金属基体脆性增加,更易断裂。在温度较高时,材料中缺陷移动较快,更容易产生滑移,因此裂纹尖端缺陷密度较小,裂纹前端区域应力梯度较小,不会引起缺陷向裂纹尖端移动。此时,材料裂纹尖端区域更柔韧,不易断裂。所以在温度较高的情况下,随着温度的升高,裂纹CGR不断减小。另一方面,随着实验温度的升高,金属原子更容易扩散到裂纹表面与高温高压水溶液反应,从而提高了裂纹表面氧化速率,所以在温度较高时裂纹扩展速率较快。同时,高温也会加速冷加工区变形带的局部氧化,促进裂纹向前扩展。所以,在温度较低的情况下随着温度的升高,裂纹CGR不断增大。
图4显示,20% CW690合金在DH为45 mL/kg的水环境中在320~360 ℃范围内SCC裂纹扩展速率随着温度的增大而不断增大,在320~340 ℃范围内CGRDH=45 mL/kg<CGRDH=30 mL/kg,在350~360 ℃范围内CGRDH=45 mL/kg>CGRDH=30 mL/kg。对20%冷加工碳钢在360 ℃还原性环境中进行裂纹扩展实验之后进行吸氢速率测试,测试结果表明,在360 ℃附近样品吸氢速率存在最低值,这说明还原性环境中的H在360 ℃附近与材料中的空位进行结合。Fukai等[39,40]认为在Fe和Ni等金属中,随着H2含量的增大,空位密度逐渐增大;在Nb,Au和Fe中,均发现氢诱导空位能够增大晶格扩散速率。在图4中,350~360 ℃范围内CGRDH=45 mL/kg>CGRDH=30 mL/kg,可能是由于高浓度的H沿裂纹尖端和孔洞处向材料内部扩散,进一步增加这些区域的空位密度,同时增加与空位结合向高应力区的移动速率,增加裂纹扩展速率。
2 冷加工材料应力腐蚀机理
很多学者对冷加工材料的应力腐蚀过程和机理进行了大量的研究,提出了一些理论,但是尚没有一种完整而统一的模型能合理解释冷加工材料应力腐蚀行为。滑移溶解模型是由Ford和Andresen提出的,是被普遍接受的应力腐蚀模型,该模型认为在发生应力腐蚀的合金表面会形成一层致密的氧化膜,氧化膜在拉应力的作用下会发生塑性变形而破裂,裸露的金属暴露在腐蚀性环境中溶解出金属离子,同时在自钝化的作用下重新形成氧化膜,通过滑移-膜破裂-金属溶解-再钝化的过程循环往复,最终使SCC裂纹不断向前扩展。Farady根据滑移溶解模型建立了CGR的半经验表达式:
![]()
式中,a˙a˙为裂纹长度,M为原子量(g/mol);Z为氧化电子数 (2或3);ρ为金属密度(g/cm3);F为Faraday常数(9.65×104C/mol);εf为氧化膜破裂应变;i0,t0和n均为常数,n与腐蚀电位、溶液电导率、合金硫含量、敏化程度、合金类型有关,i0tn0i0t0n为参与溶解/氧化过程的电荷密度(C/cm2);ε˙ctε˙ct为裂尖应变速率 (CTSR)。其中,裂尖应变由蠕变、外加应变或穿过塑性变形区的裂纹扩展产生。
一些研究将滑移溶解模型和材料力学性能的变化相结合对冷加工材料应力腐蚀行为进行了解释,总结来说冷加工主要从两个方面影响应力腐蚀CGR:(1) 冷加工主要改变应力腐蚀的CTSR。冷加工过程会在材料中引入塑性变形和大量的残余应力,使材料产生硬化和应力集中,同时产生大量的位错和空位缺陷,这些都会使高应力区材料力学性能变差,使其变脆易断裂,使应力腐蚀裂纹CTSR增大,应力腐蚀CGR增大。(2) 冷加工还会改变应力腐蚀裂纹尖端的氧化速率,使参与溶解/氧化的电荷密度i0tn0i0t0n增大,加快腐蚀。冷加工在晶界处形成的片状高应力区与变形带中存在的大量位错和空位缺陷使阴离子和O更容易发生扩散,使其优先发生局部氧化。同时,材料中的阳离子也更容易扩散到溶液中,促进裂纹尖端金属离子的溶解,加速裂纹尖端腐蚀,加快裂纹扩展速率。
3 待解决的问题与未来研究趋势和方向
(1) 冷加工样品中DH与应力腐蚀裂纹扩展速率的关系。在PWR一回路中,加氢对改善回路中水化学环境具有重要的作用,可以降低氧化性辐照分解产物,减少水中游离氧,降低不锈钢管在核电站运行工况下相应的电化学电位从而减轻其IGSCC行为。但是有研究者在特定条件下观察到应力腐蚀CGR随着水中DH的增大而增大,这与常规的认知存在差异,需要进一步研究DH与CGR的关系并探究其机理。
(2) 核电站中结构材料的冷加工形式有很多,包括弯曲、焊接、打磨、切割、打孔等操作,冷加工效果与实验上的冷轧加工不尽相同,研究结果可能与实际存在差异。未来需要进一步研究不同的加工形式产生的冷加工效果对应力腐蚀敏感性的影响。
(3) 在现阶段的研究中,已对冷加工对材料内部微观结构的改变和在材料应力腐蚀过程的作用进行了初步探究。但是并没有形成一个系统的理论,也没有对冷加工材料晶粒和晶界处的位错和空位等缺陷的形成和运动过程进行深入的探究,对冷加工材料内部微观结构的变化情况也知之甚少,冷加工在应力腐蚀钝化膜形成及裂纹尖端溶解等过程的作用尚不明确,需要在未来的研究中逐渐完善,形成系统的、明确的理论。
免责声明:本网站所转载的文字、图片与视频资料版权归原创作者所有,如果涉及侵权,请第一时间联系本网删除。
官方微信
《腐蚀与防护网电子期刊》征订启事
- 投稿联系:编辑部
- 电话:010-62316606
- 邮箱:fsfhzy666@163.com
- 腐蚀与防护网官方QQ群:140808415



