国内原油逐年变重, 酸值不断提高, 从而加重了炼油设备的腐蚀与冲蚀。重质原油的产量逐步增加,加工重质油装置不断增多。这些装置不同程度地发生了高温环烷酸腐蚀。面对这种严重局面, 认识、了解环烷酸的性质、腐蚀特点、装置易蚀部位及含环烷酸原油在国内的分布, 对炼油企业提高经济效益, 延长开工周期具有重要意义。
1 环烷酸的性质环
环烷酸是原油中有机酸的总称。它是原油中最主要的酸性氧化物, 其含量占酸性氧化物的90 %左右, 随原油来源不同, 其变化较大。环烷酸的化学性质与脂肪酸相似, 是典型的一元酸, 具有普通有机酸的全部化学性质。其分子结构大致如下。
上述分子结构稠环数目n = 1-5 , R 是碳原子数较低的烷基侧链,m> 1 。由于R、n 、m 不同, 在原油中有1500 多种不同结构的环烷酸。
2 高酸值原油在国内的分布
所谓高酸值原油通常是指原油的酸值妻0.5KOHmg/g。根据这个标准含高酸值原油在国内的分布见表1。
表1 国内高酸值原油的分布

3 环烷酸的腐蚀机理
环烷酸与金属的腐蚀反应为:
2RCOOH + Fe→ Fe(RCOO)2 + H2
腐蚀产物溶于油中, 它易从金属表面解离下来, 使腐蚀向纵深处发展。当金属长期与环烷酸接触、原油流速很大时, 在金属表面可观察到特有的沟槽状腐蚀。这是区别环烷酸腐蚀与其它腐蚀的标记。若原油中含有活性硫化物时, 高温下, 活性硫化物开始分解, 产生硫化氢。硫化氢与金属反应:
H2S 十Fe→ FeS + H2
生成的腐蚀产物FeS 膜, 在一定的条件下具有一定的保护作用。而在环烷酸中F e S 膜被溶解, 其反应为:
FeS + 2RCOOH→ Fe(RCOO)2+ H2S
生成的硫化氢又引起下游设备的腐蚀, 如此形成的腐蚀循环, 加剧金属的腐蚀。当RCOOH一H2S一Fe共存时, 腐蚀体系的关系见图2。

图2 Fe 一H2S一RCOOH 体系在500K 的相图
图中n值为环烷酸亚甲基数目。相图分为免蚀区(Fe)、钝化区( FeS ) 和腐蚀区[ Fe(RCOO)2]。由相图可以看出:
(1) 环烷酸与铁反应存在一个临界压力, 当环烷酸低于临界压力时, 环烷酸对铁不造成腐蚀。超过临界压力时, 才产生腐蚀。
(2) 硫化氢分压会影响在铁表面形成的硫化物膜的组成,从而影响了膜抗环烷酸腐蚀的能力。
(3) 随着n值增加,分子量增加, 环烷酸与铁反应的临界压力增高。表明: 分子量增大, 环烷酸腐蚀性降低。
4 环烷酸在炼油装置中产生腐蚀的部位及形态
以某炼油厂为例,在常减压塔检修时,对设备的重点易蚀部位进行了定点监测( 其结果见图3)。在低流速时, 在腐蚀部位形成尖锐的空洞;在高流速时, 在腐蚀部位形成顺着流向的带锐角的沟槽。

图3 炼油设备易受环烷酸腐蚀的部位
5 影响环烷酸腐蚀的因素
01 酸值的影响
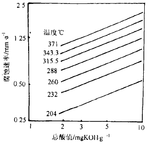
在一定温度下,金属的腐蚀速度与环烷酸在原油中的含量有关(见图4)。研究结果表明: 在一定温度下,A3钢在环烷酸中的腐蚀速度为:dc/dt=kc3/2。经验表明,在一定的温度范围内,腐蚀速率和酸值之间似乎存在一定的临界值,高于此值腐蚀速度将明显加快。对碳钢来说, 原油的酸值在0.5mg/g 以上,A 3 钢的腐蚀速度明显增大

图4 酸度和温度对腐蚀的影响
02 温度对环烷酸腐蚀速度的影响
在低温时, 环烷酸对设备几乎不造成腐蚀, 而在200℃以上, 随着温度升高, 对设备腐蚀程度逐渐加剧, 这与环烷酸和反应的高活化能有关。研究表明: 环烷酸与A3 钢反应活化能为: Ea=346kJ /mol,A3钢的腐蚀速度与温度的关系为: Ink =a-b/T。Gutzeide 实验表明: 温度每升高55℃, 碳钢和低合金钢腐蚀速率增加两倍。与温度的关系(见图5)。由图可以看出: 316 不锈钢腐蚀速度最低, 碳钢腐蚀速度最高。Deruygs报告指出: 碳钢腐蚀由149 ℃ 开始, 随着温度升高,腐蚀速度呈直线上升, 在约204℃时, 环烷酸产生的腐蚀已经相当严重了, 应该引起炼油厂的足够重视。图6 为金属腐蚀速度与酸值间的关系。

图5 各种材料在环烷酸中的腐蚀速度

图6 金属腐蚀速度与酸值的关系
03 流速对环烷酸腐蚀速度的影响
流速和流态是影响环烷酸腐蚀的非常重要的因素。在炼油设备的弯头、三通和泵中产生的湍流加速设备的腐蚀。当气量大于60%, 蒸汽流速大于60m/s 的射流, 腐蚀最严重。在这样的条件下, 某些设备, 如炉管、弯头、管线的腐蚀速度可增大两个数量级。在一定温度情况下,某种材料在原油中的腐蚀速度和流速的关系, 似乎存在一个临界速度, 低于这个速度, 环烷酸腐蚀速度很低。经验表明: 在没有湍流的情况下, 流速小于25-30m/s 时, 碳钢耐环烷酸腐蚀。国内炼油厂设备内原油的流速参数控制在:低流速转油线的流速不得超过62m/S;高流速转油线的流速不得超过94m/s 。
6 成本问题
环烷酸引起的腐蚀问题有:
(1) 因清理塔内滤网的填料, 导致原油处理能力下降。
(2) 从渣油中提取的重柴油减少。
(3) 金属离子浓度增大, 引起催化裂化原料的质量下降, 导致装置加工原油能力减弱, 汽相产量减少, 并且缩短了催化剂的使用寿命。这些问题造成巨大损失, 据估计, 如不采取正确的措施, 炼油厂损失较大。
7 解决方案
以下是值得考虑的解决炼油厂环烷酸腐蚀的4个途径。但每种途径都有其优缺点。
01 冶金学途径
据已发表的文献和现场经验表明: 含有2.5%或更多的铝合金, 如316L、317L具有抗环烷酸腐蚀的能力。但这种途径只对加工含同一种环烷酸的原油有作用, 当含环烷酸的原油, 酸的种类发生变化时, 将会产生新的腐蚀问题。除含钥不锈钢外, 碳钢渗铝可以认为是一种经济而适用的抗环烷酸腐蚀的材料。推荐使用的抗环烷酸腐蚀的材料见表2, 几种耐环烷酸腐蚀钢的化学成分见表3 。
表2炼油厂常减压蒸馏装置高温部位用材实例

表3 几种耐环烷酸腐蚀钢的化学成分

02 混炼途径
将腐蚀性较弱的原油, 加入到腐蚀性较强的原油中, 以减少环烷酸在原油中的含量, 达到降低原油酸值的目的, 从而降低环烷酸的腐蚀性。但在多数情况下, 这种途径在经济上是不可取的。
03 抽提途径
使用碱性无机物或碱性有机物, 使碱性物质和环烷酸发生中和、或酞胺化反应, 将环烷酸转化为环烷酸盐或酞胺类化合物, 进而将反应所得化合物从原油中分离出来, 这是一种被认为可以选择的方案。但在中和方案中, 有一个不易克服的难题是, 生成的反应物产生强烈的乳化, 工艺不易操作。在酞基化方案中, 存在环烷酸和有机胺反应进行多大程度的问题, 若酞基化转化率很低, 就难以达到控制环烷酸腐蚀的目的。
04 高温缓蚀剂
高温缓蚀剂在减缓环烷酸腐蚀的过程中显示出了良好的效果。在不改变工艺路线的情况下, 可根据监测得到的腐蚀结果, 调整缓蚀剂注人位置。
高温缓蚀剂可分为两个大类: 磷系和非磷系环烷酸高温缓蚀剂。大量的实验和现场经验表明, 某些磷酸脂能够有效减缓环烷酸的腐蚀, 其缓蚀机理被假定为:
磷酸和金属表面的铁离子反应, 生成一层致密的保护性赘合物膜, 这种机理干扰了环烷酸与铁的反应, 所生成的膜阻止环烷酸对金属的侵蚀, 从而达到控制环烷酸腐蚀的目的。
8 缓蚀剂注入工艺路线和工艺参数
01 缓蚀剂注入路线示意图( 见图9)
第一次注人缓蚀剂,注人位置选在回流的重柴油处,以控制重柴油分馏塔板和上面的填料腐蚀。第二次注人时, 注人位置选在重柴油分馏塔板下的回流油处, 这种方法用来保护该处的塔板和填。因重柴油分馏塔板是一个总塔板,所以对于想要保护的塔板应该考虑缓蚀剂的合理用量。在两次注人时,注人的速度参数应保持相同。纵观上述缓蚀剂的工艺参数为: 注人位置、注人速度和每次注人缓蚀剂的量。

图9 缓蚀剂注入路线示意图
02 监测
监测程序包括以下内容:
(1) 在重柴油分馏塔板以下, 安装电子腐蚀探针;
(2)使用电感性热电偶或ICAP分析每天重柴油中铁和镍元素的含量;
(3)通过IAP 分析, 确立重柴油回流和重柴油塔板下回流的缓蚀剂最佳注人速度。为有效控制环烷酸腐蚀, 两次注人缓蚀剂的速度应相等。
03 结论
高温缓蚀剂是解决环烷酸腐蚀的一种经济有效的方法, 但从长远的观点看, 抗环烷酸腐蚀材料才是解决问题的根本途径,化学转化法也可能是一条有希望的出路。但就目前情况来看,每一种方案都存在缺点,需要投人大量人力物力进行研究和完善。
免责声明:本网站所转载的文字、图片与视频资料版权归原创作者所有,如果涉及侵权,请第一时间联系本网删除。
官方微信
《中国腐蚀与防护网电子期刊》征订启事
- 投稿联系:编辑部
- 电话:010-62313558-806
- 邮箱:fsfhzy666@163.com
- 中国腐蚀与防护网官方QQ群:140808414



